一位男士手里拿着一个灯泡
未来隔离型材
今日创造

创新 @ 怡塑宝 (insulbar®)

只有原创的发明者才可以为您提供最顶级的性能

我们不仅发明了聚酰胺隔离桥,而且还在持续优化产品,按照最新的市场需求进行调整。为了未来能够始终提供最出色的解决方案,我们勇于探索,不断创新。我们在研发领域进行了大量投资,采用先进的技术工作,并与知名的研究所合作。

适合先进系统的创新型材

由于建筑物的节能要求不断提高,所以对于门窗和外立面隔离来说是一项巨大的挑战,隔离桥的阻隔效果面临着严峻考验。另外,对隔热型材的几何形状、易加工性或可持续性的要求同样越来越高,这促使我们对产品进行持续研发。

恩欣格 (Ensinger),其研发的怡塑宝 (insulbar®)极大地优化了金属框架内外层之间 的隔热效果。

用于高隔热性元件的空腔型材和用于可靠防潮 和完美密封的(Coex)密封条同样是恩欣格
 (Ensinger)的创新产品,为更高质量和能效做出 了积极贡献。

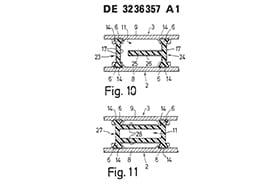
Coex 密封条
用于防潮和密封装配好的组件。

怡塑宝(insulbar®)LEF
适用于隔热条接线片的低辐射膜 12 ε 3 允许在不使用泡沫的前提下提供极高的 Uf 值。

高度防复制
我们独特的压力挤压工艺使隔热型材具有独一无二的外观,几乎无法复制。

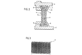
中空室
空气循环发生在中空室之内,由于产生对流,减少了这些空间的热量损失。

保持最高水平的隔热型材

怡塑宝 (insulbar®) 隔热型材不断刷新着在功能、性能以及未来安全性方面的高标准。因为我们洞悉行业发展以及节能方面的法律规定,能够应对最新趋势迅速做出反应。此外:我们紧随趋势发展,在今日即可提供符合未来对铝门窗及外立面隔热要求的解决方案。

门窗和外立面金属框架隔热型材发展里程碑:

 

1977

恩欣格先生研发了第一批隔热型材
恩欣格先生研发了第一批隔热型材

1992

发明Coex密封线,使复合材料的密封更加完美
发明Coex密封线,使复合材料的密封更加完美

1994

恩欣格首次为含阻燃连续纤维的防火型材注册专利
恩欣格首次为含阻燃连续纤维的防火型材注册专利

1995

空腔型隔热型材的生产工艺获取专利保护
空腔型隔热型材的生产工艺获取专利保护

1997

防静电insulbar® ESP型材进入市场,优化喷涂效果.
防静电insulbar® ESP型材进入市场,优化喷涂效果

2000

发明了芯内密闭胞状结构的高效隔热型材
发明了芯内密闭胞状结构的高效隔热型材

2011

推出了带Low-E薄膜的怡塑宝(insulbar®)LEF 型材,Uf值更佳
推出了带Low-E薄膜的怡塑宝(insulbar®)LEF 型材,Uf值更佳

2013

推出怡塑宝(insulbar®)RE型材,由100 % 可循环利用的聚酰胺制成
推出怡塑宝(insulbar®)RE型材,由100 % 可循环利用的聚酰胺制成

2017

推出怡塑宝(insulbar®)LO型材 – 芯内密闭多孔结构,且λ值= 0.18 W/m.K
推出怡塑宝(insulbar®)LO型材 – 芯内密闭多孔结构,且λ值= 0.18 W/m.

2019

怡塑宝 (insulbar®) LI 型材:多孔芯,λ = 0.21 W/m·K
怡塑宝 (insulbar®) LI 型材:多孔芯,λ = 0.21 W/m·K